2018年3月机修钳工技师模拟试题及答案卷4
试题展示2018年3月机修钳工技师模拟试题及答案卷4机修钳工职业资格技师最新最全,免费模拟练习
2018年机修钳工模拟试题及答案由云习网提供
职业资格下载地址 免费练习 。
1、(主观题)分析加工工件表面粗糙度值偏高的原因及解决方案。
正确答案:加工工件表面粗糙度值高的可能原因及解决方案是:|1、导轨的润滑油不足,致使溜板爬行。|解决方案:加润滑油,排除润滑故障。|2、滚珠丝杠有局部拉毛或磨损|解决方案:更换或修理丝杠。
2、(主观题)型材中常见的缺陷有哪些?
正确答案:1)钢板:分层、夹杂物、裂纹、皮下气孔、表面缺陷(如鳞状折叠、龟壳状)。|2)钢棒:裂纹、夹杂物、表面缺陷(如折叠和皱纹)。|3)钢管:外壁折叠、划痕、横向或纵向裂纹。
3、(多选题)在故障诊断时应掌握的原则是()。
A 先内部后外部
B 先机械后电气
C 先静态后动态
D 先简单后复杂
E 先外部后内部
正确答案:BCDE
4、(判断题)工作行程很大的大型数控机床通常采用齿轮齿条来实现进给运动。
正确答案:正确
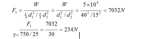
5、(主观题)如图所示,液压千斤顶的柱塞直径d1=40mm,活塞直径d2=15mm,杠杆长度分别为25mm和750mm。问杠杆右端应加多大的力才能将5×104N的重物W顶起?
正确答案:杠杆端点应加234N的力才能将5×104N的重物顶起
6、(主观题)工序质量控制计划的作用和主要内容。
正确答案:1、工序质量控制计划的作用是按照产品图样、技术文件和质量特征重要性分级的要求,进一步明确关键工序中应做的工作,确定在什么时间、由哪些部门和哪些负责人做好这些工作。其中包括关键质量控制的准备和质量活动。|2、工序质量控制计划的主要内容有:|(1)工序质量控制点明细表。|(2)工序质量分析表。|(3)工序质量控制点应用的文件以及控制文件的目录。|(4)为使工序质量控制点有效,应制定的管理办法和实施要求。
7、(主观题)预防切屑对人体伤害的安全措施有哪些?
正确答案:1、根据被加工材料性质,改变刀具角度或增加断屑装置,选用合适的进给量,将带状切屑断成小段卷状或块状切屑,加以清除。|2、在刀具上安装排屑器,或在机床上安装护罩、档板,控制切屑流向,不致伤人。|3、高速切削生铁、铜、铝材料,除在机床上安装护罩、档板以外,操作者应配备防护眼镜。|4、使用工具及时清除机床上和工作场所的铁屑,防止伤手、脚,切忌用手去扒铁屑。
8、(多选题)在实际加工工件时,实际加工尺寸与希望加工尺寸(或编程尺寸)总存在一定误差,这种误差可通过刀具补偿来减小,甚至消除。引起这种误差的原因往往是()。
A 程序编写错误
B 刀尖磨损
C 更换刀片后,刀尖位置与原位置偏差
D 切削条件变化而引起的尺寸偏差
E 刀尖安装位置与基准位置有偏差
正确答案:BCDE
9、(单选题)数控机床改造中不能当驱动部件的有()。
A 步进电动机
B 电液脉冲马达
C 伺服电动机
D 交流电动机
正确答案:D
10、(单选题)增强职业责任感就要做到()。
A 认真履行职业职责
B 熟悉业务,相互配合
C 正确处理个人、集体和国家之间的关系
D 以上全对
正确答案:D
11、(主观题)某旋转件的质量m=10kg,工作转速n=3000r/min,平衡精度等级为G2.5。试求平衡后允许的偏心距e和剩余不平衡力矩M(取重力加速度g≈10m/s2)。
正确答案:旋转件的角速度 ω=2πn/60=2π×3000/60=314.16rad/s,由于平衡精度等级为G2.5,所以旋转件的偏心速度 ve=2.5 mm /s,允许的偏心距 e=1000 ve/ω=1000×2.5/314.16=7.96μm剩余不平衡力矩 M=We=mge=10×10×7.96=796N·μm =0.80 N·mm。平衡后允许的偏心距e为7.96μm,剩余不平衡力矩M为0.80 N·mm。
12、(多选题)加工螺纹时造成螺距不对的原因主要有()。
A 系统和驱动器参数设置是否正确
B 线路接触良好
C 主轴转速是否合理
D 机械,加工程序是否有问题
E 主轴编码器故障
正确答案:ACDE
13、(判断题)职业责任就是各种专业技术人员在从事职业活动中造成他人人身伤害或财产损失而依法承担的损害赔偿责任。
正确答案:正确
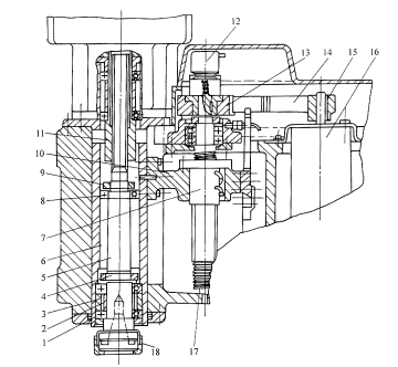
14、(主观题)试述下图所示数控机床主轴部件的常见故障及排除方法。型数控铣床主轴部件结构图 l―接触球轴承 2、3―轴承隔套 4、9―圆螺母 5―主轴 6―主轴套筒 7―丝杠螺母 8―深沟球轴承10―螺母支承 11―花键套 12―脉冲编码器 13、15―同步带轮 14―同步带 16―伺服电动机 17―丝杠 l8―快换夹头
正确答案:1、主轴运转发生异常的声音,且声音越来越大造成机床运转停止。其原因是主轴轴承破损,应更换主轴轴承。|2、主轴箱不能够移动|(1)联轴器松动,拧紧联轴器上的螺钉。|(2)压板间隙小或研伤,修复压板,调整压板与导轨间隙,保证间隙为0.02~0.03 mm。|(3)镶条间隙不当,松开镶条止退螺钉,用螺钉旋具顺时针旋转镶条螺栓,使坐标轴能灵活移动,塞尺不能塞入后,锁紧止退螺钉。|(4)主轴箱导轨面研伤,修磨导轨面。|3、主轴箱运转过程有噪声|(1)润滑油量不足,改善润滑条件,使其润滑油量充足。|(2)轴承间隙过大,调整轴承后盖,使其压紧轴承端面,拧紧锁紧螺母。|(3)主轴与电动机连接传动带过紧,移动电动机座使传动带松紧度合适。|(4)小带轮、大传动带平衡不好,重新做动平衡。
15、(判断题)()在车削细长轴时如不采取任何工艺措施,加工完的轴会出现马鞍形。
正确答案:错误
16、(判断题)()滚珠丝杠副可以将旋转运动转换成直线运动,但不可以从直线运动转换成旋转运动。
正确答案:错误
17、(主观题)如图所示,液压千斤顶的柱塞直径d1=40mm,活塞直径d2=15mm,杠杆长度分别为25mm和750mm。问杠杆右端应加多大的力才能将5×104N的重物W顶起?
正确答案:设液压千斤顶柱塞上所加的外力为F1,杠杆右端所加力为F。
|杠杆端点应加234N的力才能将5×104N的重物顶起。
18、(主观题)中碳钢的性能特点与用途有哪些?
正确答案:具有较高的强度和硬度,其塑性和韧性随含碳量的增加而逐步降低,切削性能良好。经调质后,能获得较好的综合力学性能。主要用来制作受力较大的机械零件,如连杆、曲轴、齿轮和联轴器等。
19、(多选题)数控机床螺距误差补偿量的设定,与下列()因素有关。
A 参考点和补偿点的位置
B 机械移动方向
C 补偿间隔是正值时,用此值进行补偿
D 补偿间隔是零时,此轴不进行补偿
E 设定了螺距误差补偿量后,要重新返回参考点
正确答案:ABCDE
20、(单选题)用水平仪测量单轨面扭曲,要使用()水平仪垫底。
A 矩形
B 与导柱轨面形状相符的
C 三角形
D 圆柱形
正确答案:B
21、(主观题)分析加工工件表面粗糙度值偏高的原因及解决方案
正确答案:加工工件表面粗糙度值高的可能原因及解决方案是:|1、导轨的润滑油不足,致使溜板爬行。|解决方案:加润滑油,排除润滑故障。|2、滚珠丝杠有局部拉毛或磨损|解决方案:更换或修理丝杠。
22、(单选题)SLS法是激光束将(),形成与CAD设计相吻合的实体。
A 粉末质点熔化
B 树脂固化
C 纸张分割
D ABS溶化
正确答案:A
23、(单选题)组织纪律、劳动纪律、财经纪律、群众纪律所反映的是劳动纪律的()。
A 一致性
B 强制性
C 特殊性
D 规律性
正确答案:A
24、(主观题)如图所示的零件,加工三个孔,计算加工后孔1和孔2之间、孔1和孔3之间所能达到的尺寸精度,并画出尺寸链图。
正确答案:
25、(单选题)影响刀具寿命的因素有()。
A 工件材料、刀具材料、刀具几何参数、切削用量
B 工件材料、刀具材料、刀具几何参数
C 工件材料、刀具材料、切削速度
D 工件材料、刀具材料、切削用量
正确答案:A
26、(主观题)请写出下图所示数控铣床主轴部件装配调整时的注意事项。l-角接触球轴承 2、3-轴承隔套 4、9-圆螺母 5-主轴 6-主轴套筒 7-丝杠螺母8-深沟球轴承 10-螺母支承 11-花键套 12-脉冲编码器 13、15-同步带轮14-同步带 16-伺服电动机 17-丝杠 18-快换夹头
正确答案:机床主轴部件装配调整时应注意以下几点:|1、为保证主轴工作精度,调整时应注意调整好预紧螺母4的预紧量。|2、前后轴承应保证有足够的润滑油。|3、螺母支承10与主轴套筒的联接螺钉要充分旋紧。|4、为保证脉冲编码器与主轴的同步精度,调整时同步带14应保证合理的张紧量。
27、(主观题)分析桥式起重机制动器出现故障的原因并提出处理办法。
正确答案:(1)由于螺栓和孔的磨损,使制动瓦的中心不能与制动轮的中心重合,造成制动失灵。应加大螺栓圆柱部分直径,减小与孔的间隙。|(2)制动器在制动时发生“吱嘎”声。应调整制动瓦与制动轮的同轴度,紧固制动带。|(3)制动带磨损造成制动失灵。应更换制动带。|(4)起重重物时,停车后工件会自动落下。应调整制动器,使之可靠地支持住额定起重量的1.25倍。|(5)制动器在工作时冒烟或发生焦臭味,是由制动轮与制动瓦间隙过小、温度过高而引起的。一般制动轮温度不能超过200℃,此时必须调整制动轮和制动瓦的间隙。
28、(主观题)高碳钢的性能特点与用途有哪些?
正确答案:具有较高的强度、硬度和弹性,但焊接性不好,切削性稍差,冷变形塑性差。主要用来制造具有较高强度、耐磨性和弹性的零件,如气门弹簧、弹簧垫圈、板簧和螺旋弹簧等弹性元件及耐磨零件。
29、(单选题)线切割一般选用()电源对工件进行电腐蚀加工。
A 直流
B 交流
C 稳压
D 高频脉冲
正确答案:D
30、(判断题)单缸互锁回路使用两个常闭两位两通电磁阀,只有两个电磁阀同时启动活塞动作的回路。
正确答案:正确