2018年3月机修钳工技师模拟试题及答案卷3
试题展示2018年3月机修钳工技师模拟试题及答案卷3机修钳工职业资格技师最新最全,免费模拟练习
2018年机修钳工模拟试题及答案由云习网提供
职业资格下载地址 免费练习 。
1、(主观题)正确选择刀具材料、牌号一般应遵循哪些原则?
正确答案:1、加工普通工件材料时,一般选用普通高速钢与硬质合金。加工难加工材料时可选用高性能和新型刀具材料牌号。只有在加工高硬材料或精密加工中常规刀具材料难以胜任时,才考虑用超硬材料立方氮化硼和金刚石。|2、在选择刀具材料牌号时,根据工件材料切削加工性和加工条件,通常先考虑耐磨性,崩刃问题尽可能用最佳几何参数解决。如果因刀具材料性脆还要崩刃,再考虑降低耐磨性要求,选强度和韧性较好的牌号。
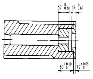
2、(主观题)在CA6140车床尾座修理装配中,各组成零件的有关尺寸如图所示,试计算修理装配后螺母在顶尖套筒内的轴向窜动量,并画出尺寸链图。
正确答案:
3、(单选题)刀具材料要有足够的强度和韧性主要是指刀具材料的抗弯强度及()要求高,以防止切削过程中刀具发生脆性断裂及崩刃现象。
A 冲击韧性
B 抗拉强度
C 疲劳断裂
D 耐氧化性
正确答案:A
4、(多选题)测量车床尾座移动对溜板移动的平行度的步骤是()。
A 两次测量分别计算
B 测头顶在尾座顶尖套的上母线,移动溜板并推动尾座一起移动
C 在溜板全行程上检验。同样的方法在尾座顶尖套的侧母线上测量
D 把千分尺固定在溜板上
E 千分表在每米和全部行程上的最大读数差为平行度误差
正确答案:ABCDE
5、(判断题)高速钢涂层技术,是在精加工后的高速钢刀具表面涂覆一层2~6μm厚的高硬度高熔点耐磨材料,这样,可使刀具表层有比高速钢基体高得多的硬度,较大地提高了刀具的耐磨性,并可提高刀具寿命2~10倍,加工效率提高50%~100%,可获得显著的经济效益。
正确答案:正确
6、(单选题)三相步进电动机的步距角是1.5°,若步进电动机通电频率为2000Hz,则步进电动机的转速为()r/min。
A 3000
B 500
C 1500
D 1000
正确答案:B
7、(单选题)抛光一般只能得到光滑表面,不能提高()。
A 使用寿命
B 表面精度
C 表面质量
D 加工精度
正确答案:D
8、(主观题)试论述为什么同一厂家同一型号规格同一配置的数控机床,其设定的参数是不完全一样的,最后举例加以说明。
正确答案:1、虽然机床的型号规格和配置一样,但在机床的制造过程中,不可能做到完全一样。|如(1)零件质量,零部件间的配合,电气元件的性能,液压元件的性能,装配质量等等是不可能做到一模一样。所以每一台机床都存在差异。|(2)机床在使用中,由于机械的磨损,或某些元件的性能变化,也会使机床的性能改变。|2、参数的一个作用就是通过对参数的调整,使一台机床的综合性能达到最理想的效果。当机床性能变动也可以通过调整有关参数使性能恢复。所以不同的机床的参数是不可能完全一样。|如有的四位电动刀架电机反转1秒就可以锁紧,但有的不一定能锁紧,这时可修改刀架电机反转时间参数,加长电机反转时间,使刀架锁紧。
9、(多选题)点接触淬火常用的电极材料是()。
A 耐热钢
B 电工钢
C 铜
D 石墨
E .铝
正确答案:CD
10、(单选题)精密机床液压系统中,油的温度要求在()以上
A 15°C
B 25°C
C 35°C
D 45°C
正确答案:A
11、(判断题)()双频激光干涉仪不仅用于精密测量,还可用于大型机床的精密定位
正确答案:正确
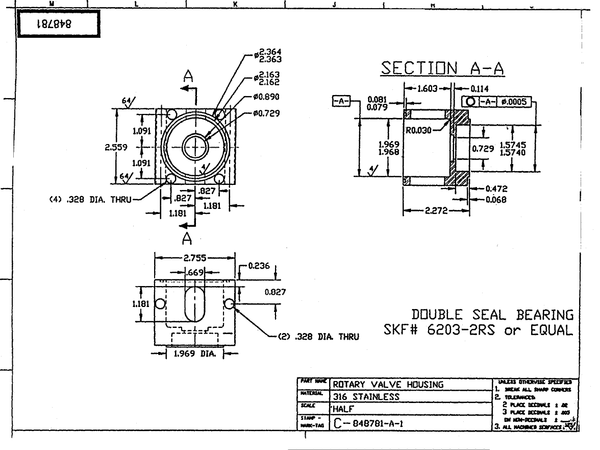
12、(主观题)看下图回答问题:|1.此件长、宽、高的最大尺寸是多少?|2.此图尺寸是公制还是英制?|3.哪一个尺寸要求最精确?|4.哪一部分有位置公差要求?|5.此图属第几角投影?
正确答案:
13、(单选题)大批量生产的工序质量控制点的设置应以()为对象。
A 质量特性值
B 工序
C 设备
D 工艺装备
正确答案:A
14、(单选题)加工中心按照主轴在加工时的空间位置分类,可分为立式、卧式、()加工中心。
A 不可换主轴箱
B 三轴、五面
C 复合、四轴
D 万能
正确答案:D
15、(判断题)职业责任就是各种专业技术人员在从事职业活动中造成他人人身伤害或财产损失而依法承担的损害赔偿责任。
正确答案:正确
16、(单选题)用水平仪测量单轨面扭曲,要使用()水平仪垫底。
A 矩形
B 与导柱轨面形状相符的
C 三角形
D 圆柱形
正确答案:B
17、(单选题)在夹具中用较长的V形槽来作工件圆柱表面的定位元件时,它可以限制工件的()自由度。
A 两个
B 三个
C 四个
D 五个
正确答案:C
18、(主观题)把下列某数控系统的报警内容翻译成中文。|(1)ADDRESS DUPLICATION ERROR。|(2)CNCN NOT COMMAND G51 IN CRC。|(3)n AXIS:INV.COOLING FAN FAILUER。|(4)n AXIS:CNV.LOWVOLT DC LINK。|(5)n AXIS:INV.OVERHEAT。
正确答案:1、在同一个程序段内,指令了两次或两次以上的相同地址。|2、刀具补偿方式中指令了G51。|3、内部风扇不转。|4、LINK电压降低。|5、伺服放大器过热。
19、(单选题)较长的自由齿形带,为衰减带()常用张力轮。
A 移动
B 平动
C 转动
D 振动
正确答案:D
20、(多选题)几何形状精度和相互位置精度达不到要求的主要原因有()。
A 发生椭圆度
B 产生母线不直(育曲、凸形、鞍形)和锥度
C 引起轴向跳动
D 引起径向跳动
E 尺寸太小
正确答案:ABD
21、(主观题)指出设备技术改造的主要途径。
正确答案:设备技术改造的主要途径有:|1、用设备制造厂的新一代产品的技术去改造老一代产品,此方法既可靠又省时。|2、利用技术上成熟且形成标准化、系列化、商品化的功能部件对现有设备进行技术改造。如将各种数显和数控装置,静压、动静压轴承,可编程控制器(PLC),交流变频调速器,直线运动导轨(ML导轨)等应用到设备的技术改造中。|3、企业自行设计设备的改造方案,对设备中原有的缺陷,如维修频繁、维修性差、故障频率高的部位进行针对性的改造,以提高设备的可靠性和利用率。|4、节约能源和消除环境污染的设备技术改造。如把龙门刨的直流电动机变速改造为交流变频调速,可以大大节约能源。
22、(多选题)在故障诊断时应掌握的原则是()。
A 先内部后外部
B 先机械后电气
C 先静态后动态
D 先简单后复杂
E 先外部后内部
正确答案:BCDE
23、(多选题)车螺纹时,其牙形不正确,分析其产生原因主要有()。
A 车刀安装不正确,使刀具刃角变化,从而产生螺纹的半角误差
B 车刀牙形角本身就有误差
C 车刀形状被磨损
D 机床规格不对
E 车刀不锋利
正确答案:ABC
24、(主观题)简述加工误差分析的步骤。
正确答案:1、现场调查并作统计。通过对统计数据的分析处理,了解误差的规律,判别其方向、大小及其发生的条件。|2、绘制必要的统计图表,如直方圆、点图等(必要时作相关分析)。初步判别误差的性质。|3、查找影响误差的主要因素,将影响因素分类,作因果分析图分析。|4、进行单因素实验分析。通常用统计分析方法可以找到解决问题的方向。要得到确切的结果,可能要反复实验。|5、在找到产生误差的原因后,仍要作试样件的试验,以验证新工艺措施的可靠性。
25、(主观题)大型设备大修时的注意事项。
正确答案:大型设备大修理时的注意事项有:|1、零、部件的修理必须严格按照修理工艺进行,达到几何精度的要求。|2、零、部件在组装前必须做好细致的检查工作,保证组装的完整性、可靠性。|3、零、部件在组装前必须做好起吊等安装的准备工作,准备好起吊的钩具、绳索、辅具等,做好安全防范工作。|4、在大型设备的大修理前要合理安排工作进度、人员的组织、备配件及材料的供应,一般都要排出网络计划(作业计划)。|5、零、部件的组装和总装,要做到一次装配成功、一次精度验收成功、一次试车成功,减少或消除因各种失误而造成的返工、拆卸、重新装配。
26、(单选题)凡在坠落高度()m,有可能坠落的高处进行作业,均称为高处作业。
A ≥1
B ≥2
C ≥2.5
D ≥3
正确答案:B
27、(判断题)精密夹具装配的调整过程中,选择的补偿件应为最先装配的元件。
正确答案:错误
28、(主观题)可编程控制器(PLC)的工作原理是什么?
正确答案:可编程控制器(PLC)的工作原理是由按钮、传感器和行程开关输入信号,当信号改变时,控制系统做出反应,通过编制的机内逻辑程序,产生输出信号以控制被控系统的外部负载(如继电器、电动机、电磁阀、指示灯、报警器等)。
29、(单选题)硬质合金是高速切削时常用的刀具材料,它具有()、高耐磨性和高耐热性。
A 高韧性
B 高弹性
C 高硬度
D 高温度
正确答案:C
30、(判断题)制作研磨棒的材料硬度应高于被研磨工件材料的硬度。
正确答案:错误