2018年1月机修钳工技师模拟试题及答案卷3
试题展示2018年1月机修钳工技师模拟试题及答案卷3机修钳工职业资格技师最新最全,免费模拟练习
2018年机修钳工模拟试题及答案由云习网提供
职业资格下载地址 免费练习 。
1、(主观题)看以下主轴结构图试述:主轴的取用过刀具过程→吹扫过程→装刀过程。1-主轴 2-拉钉 3-钢珠 4-轴承 5-锁紧螺母 6-轴承 7-拉杆 8-碟型弹簧片 9-弹簧 10-活塞 11-气缸 12-压缩空气管接头
正确答案:其过程如下:|1、取用过刀具过程|CNC发出换刀指令→液压缸(11)右腔进油→活塞(10)左移→推动拉杆(7)克服弹簧(8)的作用左移→带动钢球(3)移至大空间→钢球失去对拉钉(2)的作用→取刀|2、吹扫过程|旧刀取走后→CNC发出指令→空压机启动→压缩空气经压缩空气管接头(12)吹扫装刀部位并用定时器计时|3、装刀过程|时间到→CNC发出装刀指令→机械手装新刀→液压缸右腔回油→拉杆(7)在碟形弹簧的作用下复位→拉杆带动拉钉右移至小直径部位→通过钢球将拉钉卡死
2、(单选题)下述()不属于全面质量管理的特点。
A 定量化的质量管理
B 定员化的质量管理
C 全员参加质量管理
D 全过程的质量管理
正确答案:B
3、(单选题)()不会引起机床的震动。
A 主轴组件的刚性不足
B 主轴上零件不平衡
C 安装水平有误差
D 安装的基础不好
正确答案:C
4、(主观题)正确选择刀具材料、牌号一般应遵循哪些原则?
正确答案:1、加工普通工件材料时,一般选用普通高速钢与硬质合金。加工难加工材料时可选用高性能和新型刀具材料牌号。只有在加工高硬材料或精密加工中常规刀具材料难以胜任时,才考虑用超硬材料立方氮化硼和金刚石。|2、在选择刀具材料牌号时,根据工件材料切削加工性和加工条件,通常先考虑耐磨性,崩刃问题尽可能用最佳几何参数解决。如果因刀具材料性脆还要崩刃,再考虑降低耐磨性要求,选强度和韧性较好的牌号。
5、(多选题)测量车床尾座移动对溜板移动的平行度的步骤是()。
A 两次测量分别计算
B 测头顶在尾座顶尖套的上母线,移动溜板并推动尾座一起移动
C 在溜板全行程上检验。同样的方法在尾座顶尖套的侧母线上测量
D 把千分尺固定在溜板上
E 千分表在每米和全部行程上的最大读数差为平行度误差
正确答案:ABCDE
6、(多选题)加工螺纹时造成螺距不对的原因主要有()。
A 系统和驱动器参数设置是否正确
B 线路接触良好
C 机械、加工程序是否有问题
D 主轴转速是否合理
E 主轴编码器故障
正确答案:ACDE
7、(判断题)精刮时,显示剂可调得稀些,便于涂抹,显示的研点也大,也便于刮削。
正确答案:错误
8、(主观题)计算题:如图所示零件,需铣一键槽,用α=90°的V形块进行装夹,若不考虑其它误差,其加工精度能否满足要求?
|
正确答案:此工序的工序基准为外圆下素线,而定位基准是外圆中心线,属基准不符,则定位误差为:
定位误差为0.025mm,而加工公差为0.25mm,故此工序能满足精度要求。
9、(单选题)齿轮齿条间隙的消除有两种方式:()薄齿轮错齿调整法以及径向加载法。
A 单片
B 三片
C 双片
D 多片
正确答案:C
10、(判断题)液压传动系统中采用密封装置的主要目的是为了防止灰尘的进入。
正确答案:错误
11、(单选题)万能工具显微镜工作室的温度应控制在()以内。
A (20±1)℃
B (20±2)℃
C (22±1)℃
D (20±0.5)℃
正确答案:B
12、(多选题)数控机床的主轴在结构上要处理好()。
A 卡盘或刀具的装卡
B 主轴的卸荷
C 主轴轴承的定位
D 主轴轴承的间隙调整
E 主轴的强度
正确答案:ABCD
13、(单选题)四位电动刀架动转正常,但锁不紧,应()。
A 更换发讯盘
B 调整发讯盘于磁钢的相互位置
C 调换电机电源相位
D 调大刀架电机反转时间参数
正确答案:D
14、(单选题)使用光电盘测量角度时,为了判别旋转方向,在码盘两侧至少装()套光电转换装置。
A 1
B 2
C 3
D 4
正确答案:A
15、(判断题)回转刀架换刀方式的主要优点在于省去了自动松夹、卸刀、装刀、夹紧以及刀具搬运等一系列复杂的操作。从而提高了换刀的可靠性,并显著地缩短了换刀时间。
正确答案:错误
16、(主观题)某旋转件的质量m=10kg,工作转速n=3000r/min,平衡精度等级为G2.5。试求平衡后允许的偏心距e和剩余不平衡力矩M(取重力加速度g≈10m/s2)。
正确答案:旋转件的角速度 ω=2πn/60=2π×3000/60=314.16rad/s,由于平衡精度等级为G2.5,所以旋转件的偏心速度 ve=2.5 mm /s,允许的偏心距 e=1000 ve/ω=1000×2.5/314.16=7.96μm剩余不平衡力矩 M=We=mge=10×10×7.96=796N·μm =0.80 N·mm。平衡后允许的偏心距e为7.96μm,剩余不平衡力矩M为0.80 N·mm。
17、(判断题)滚珠丝杠螺母副消除间隙的方法是采用单母机械结构。
正确答案:错误
18、(多选题)由于(),使卧式镗床平旋盘滑板走刀精车端面的平面度超差。
A 平旋盘回转精度差
B 滑板平导轨平面度超差
C 平旋盘平导轨与旋转中心不垂直
D 平旋盘轴承松动
E 平旋盘滑板松动
正确答案:BC
19、(多选题)由于(),使滚齿时齿面出现啃齿痕。
A 垂直丝杠液压缸压力过低
B 滚刀架斜铁松动
C 齿轮副间隙大
D 垂直丝杠副间隙太大
E 分度蜗杆副间隙太大
正确答案:AB
20、(单选题)下列选项中不符合“保持工作环境清洁有序”的是()。
A 整洁的工作环境可以振奋职工精神
B 优化工作环境
C 工作结束后再清除油污
D 毛坯、半成品按规定堆放整齐
正确答案:C
21、(判断题)()驱动装置是数控机床的控制核心。
正确答案:错误
22、(单选题)三相步进电动机的步距角是1.5°,若步进电动机通电频率为2000Hz,则步进电动机的转速为()r/min。
A 3000
B 500
C 1500
D 1000
正确答案:B
23、(单选题)对于配有设计完善的位置伺服系统的数控机床,其定位精度和加工精度主要取决于()。
A 机床机械结构的精度
B 驱动装置的精度
C 位置检测元器件的精度
D 计算机的运算速度
正确答案:C
24、(主观题)数控机床使用多年后,主轴箱噪声变大,请分析噪声原因及处理过程。
正确答案:1、机床主轴箱产生噪声的原因主要有:|(1)机床主传动系统中齿轮在运转时产生的噪声,主要包括:|①齿轮在啮合中,使齿与齿之间出现连续冲击而使齿轮在啮合频率下产生受迫振动并带来冲击噪声。|②因齿轮受到外界激振力的作用而产生齿轮固有频率的瞬态自由振动并带来噪声。|③因齿轮与传动轴及轴承的装配出现偏心引起的旋转不平衡的惯性力,因此产生了与转速相一致的低频振动。随着轴的旋转,每转发出一次共鸣噪声。|④因齿与齿之间的摩擦导致齿轮产生的自激振动并带来摩擦噪声。如果齿面凸凹不平,会引起快速、周期性的冲击噪声。|(2)轴承的噪声分析:轴承与轴径及支承孔的装配、预紧力、同心度、润滑条件以及作用在轴承上负荷的大小,径向间隙等都对噪声有很大影响。另外一个重要原因是国家标准对滚动轴承零件都有相应的公差范围,|因此轴承本身的制造偏差,在很大程度上就决定了轴承的噪声。可以说滚动轴承的噪声是该机床主轴变速系统的另一个主要噪声源,特别在高转速下表现更为强烈。滚动轴承最易产生变形的部位就是其内外环。内外环在外部因素和自身精度的影响下,有可能产生摇摆振动、轴向振动、径向振动、轴承环本身的径向振动和轴向弯曲振动。|2、对主轴箱噪声的处理及控制:|(1)齿轮的噪声控制|由于齿轮噪声的产生是多因素引起的,其中有些因素是齿轮的设计参数所决定的。针对该机床出现的主轴传动系统的齿轮噪声的特点,在不改变原设计的基础上,有下列在原有齿轮上进行修整和改进的一些做法:|①齿形修缘。由于齿形误差和法向齿距的影响,在轮齿承载产生了弹性变形后,会使齿轮啮合时造成瞬时顶撞和冲击。因此,为了减小齿轮在啮合时由于齿顶凸出而造成的啮合冲击,可进行齿顶修缘。齿顶修缘的目的就是校正齿的弯曲变形和补偿齿轮误差,从而降低齿轮噪声。|②控制齿形误差。一般情况下,齿形误差越大,产生的噪声也就越大。|③控制啮合齿轮的中心距。在控制啮合齿轮的中心距时,将齿轮的外径,传动轴的弯曲变形及传动轴与齿轮、轴承的配合都控制在理想状态,这样可尽量消除由于啮合中心距的改变而产生的噪声。|④润滑油对控制噪声的作用。润滑油在润滑和冷却的同时,还起一定的阻尼作用,噪声随油的数量和粘度的增加而变小。|(2)轴承的噪声控制|①控制内外环质量。|②控制轴承与孔和轴的配合精度。在机床的主传动系统中,轴承与轴和孔配合时,应保证轴承有必要的径向间隙。径向工作间隙的最佳数值,是由内环在轴上和外环在孔中的配合以及在运行状态下内环和外环所产生的温差所决定的。因此,轴承中初始间隙的选择对控制轴承的噪声具有重要意义。
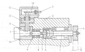
25、(主观题)试述下图换刀和刀具夹紧机构图的工作原理及自动换刀装置常见故障和排除方法。 换刀和刀具夹紧机构图 l―刀具主轴I 2―刀具主轴箱 3―刀夹体 4―同步带轮 5―接近开关 6―花键套 7―弹簧 8―花键传动轴 9―密封圈 10―刀柄套 ll―刀夹体定位销 12―活塞 13―夹紧定位块 14―蝶形弹簧
正确答案:1、工作原理|(1)换刀时,由一液压缸驱动,使刀座夹边同刀夹体随链条支承沿拔刀方向(主轴方向)移动,刀夹体3柄部即脱离刀具主轴孔。当刀具在分度机构驱动下实现刀具换位后,再返回链上移动,新更换的刀夹体即可置入刀具主轴孔中。|(2)换刀后,装有动力刀具的刀夹体插入刀具主轴孔后,首先由定位销11初定位,然后在液压缸活塞12和碟形弹簧14的作用下完成精定位并夹紧。在靠近夹紧定位块的接近开关5检测确认已夹紧后,刀具主轴l才能起动。在弹簧力的作用下,刀夹体3尾部的扁键卡入花键传动轴8槽中,刀具开始旋转。|2、常见故障及排除方法:|(1)刀库中的刀套不能夹紧刀具,应顺时针旋转刀套两边的调整螺母,压紧弹簧,顶紧卡紧销。|(2)刀套不能拆卸或停留一段才能拆卸,检查操纵刀套90°拆卸的气阀,看它是否动作,气压不足,刀套的转动轴锈蚀等。|(3)刀具从机械手中脱落,检查刀具重量是否超重,机械手卡紧销损坏。|(4)刀具交换时发生掉刀,换刀时主轴箱没有到换刀位置或换刀点飘移,机械手抓刀时,没抓住,这时,需重新操作主轴箱,使其回到换刀位置,调整机械手手臂旋出75°气缸杆上的螺栓。|(5)机械手换刀速度过快过慢,若换刀快,气压太高或节流阀开口过大可保证气泵压力和流量,旋转节流阀至换刀速度合适为止。
26、(单选题)机床底座接缝处的两侧,应各垫()垫铁。
A 四组
B 三组
C 二组
D 一组
正确答案:D
27、(单选题)顺序选择刀具每一把刀在不同的()中不能重复使用降低了刀具和刀库的利用率。
A 长度
B 时间
C 工步
D 工序
正确答案:D
28、(单选题)Y7520W型螺纹磨床修理、安装后,应准备()试切件来进行工作精度检验。
A 3种
B 4种
C 5种
D 6种
正确答案:C
29、(判断题)()数控装置是数控机床执行机构的驱动部件。
正确答案:错误
30、(多选题)几何形状精度和相互位置精度达不到要求的主要原因有()。
A 发生椭圆度
B 产生母线不直(育曲、凸形、鞍形)和锥度
C 引起轴向跳动
D 引起径向跳动
E 尺寸太小
正确答案:ABD